1. 首先,為了確定聲音來源,打開了發動機氣門室蓋,左箱蓋,用手轉動磁電機轉子,發現順轉或逆轉,快轉或慢轉,進、排氣門彈簧輪流突跳,有響聲發出。
2. 拆出氣門彈簧檢查,內外彈簧均無卡蹭之處,只發現推桿同孔壁摩擦的凹陷痕跡,經處理后裝好,發動機器,響聲仍未消除。
3. 卸去氣門彈簧,轉動曲軸,無響聲發出。因此推斷,聲音是因彈簧力作用于配氣機構而產生的。拆出汽缸檢查凸輪副,發現凸輪與時規齒輪連接處有微小松動;如圖1 所示,凸輪與時規齒輪是通過柱銷連接的,由于磨損,柱銷與銷孔之間便會產生間隙而松動。

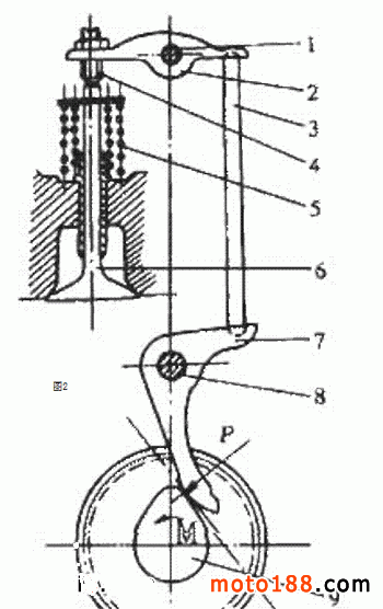
4. 為什么柱銷稍有松動,便會產生較大的敲擊聲呢?這要從整個配氣機構來分析;如圖 1-24 所示,氣門彈簧產生的彈力,通過上搖臂、氣門推桿、下搖臂作用于凸輪上的 M 點,力的方向如圖2 中 P 的方向,使凸輪產生逆時針轉動的趨向;當凸輪隨齒輪轉過一個角度后,作用力點移至 M ‘,方向變為 P ‘的方向,使凸輪產生順時針轉動的趨向,如圖 1-25 所示;正是由于這個力的方向周期性地改變,使圓柱銷子與銷孔兩側碰擊而發出聲響。
5. 排除故障的方法:一是將柱銷孔擴大,重新車制新銷,這種方法較麻煩;二是將凸輪臺階外圓周圍用電焊焊上幾個極薄的焊點并磨平,只留下極微的焊跡,使凸輪與時規齒輪通過焊點固連在一起。








